Samsung Galaxy Z TriFold – donosi tri baterije
U kratkim crtama
Samsung ove godine planira lansirati svoj prvi trostruko preklopni pametni telefon, no tvrtka još nije otkrila točan datum predstavljanja. Dok se čeka više informacija o uređaju koji bi se mogao zvati Galaxy Z TriFold, novi patentni dokument objavljen na KIPRIS platformi otkriva da će telefon imati čak tri baterije.
Samsung Galaxy Z TriFold donosi pogled na sučelje
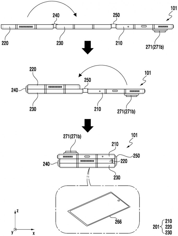
Kako se radi o uređaju s tri preklopna dijela, svaka sekcija sadrži po jednu baterijsku ćeliju. Prema skicama iz patenta, najmanja baterija (T1) smještena je u dio kućišta s trostrukom stražnjom kamerom, dok se druga po veličini (T3) nalazi u segmentu koji sadrži vanjski zaslon. Najveća baterija (T2) nalazi se u središnjem dijelu koji će biti između ostala dva kad se uređaj sklopi.

Dokument ne otkriva pojedinačne ni ukupne kapacitete baterija, kao ni brzinu punjenja. Ipak, očekuje se da će novi model imati značajno bolju autonomiju i punjenje od trenutnog Galaxy Z Fold7, koji raspolaže sa samo 4.400 mAh i podržava 25 W žično punjenje. Takvi podaci već neko vrijeme izazivaju kritike korisnika, jer konkurencija nudi znatno brže punjenje i veće kapacitete.
Samsung Galaxy Z TriFold s cijenom od 2,469€
Glasine su ranije tvrdile da će Galaxy Z TriFold biti dostupan isključivo u Južnoj Koreji i Kini, no noviji izvori sugeriraju da bi Samsung ipak mogao proširiti prodaju na američko tržište. To bi bio važan potez jer bi omogućio globalno predstavljanje prve komercijalne trostruko preklopne platforme na svijetu.

Trenutno nije poznato hoće li uređaj pripadati seriji Fold ili će otvoriti novu liniju proizvoda. U svakom slučaju, cilj Samsunga je pokazati tehnološku superiornost i dodatno učvrstiti poziciju u segmentu preklopnih uređaja, gdje se suočava s konkurencijom poput Huaweija i Honor-a.
Samsung Galaxy Z TriFold – naziv trostruko sklopivog telefona
Prema posljednjim glasinama, Galaxy Z TriFold bi mogao biti predstavljen krajem ovog mjeseca, što znači da bi službene informacije mogle uskoro stići. Uređaj bi trebao kombinirati tri zaslona, napredni Snapdragon čipset i novi mehanizam preklapanja koji smanjuje vidljivu liniju pregiba.
Samsung Galaxy TriFold i 100x zoom
Ako se sve potvrdi, Samsung će postaviti novi standard u dizajnu preklopnih uređaja, približavajući ih konačnoj viziji savitljivog pametnog telefona bez kompromisa.

Nino Krstačić
Autor mnogih IT članaka, svojevremeno suvlasnik IT portala. Gaji velike osjećaje prema IT sektoru te uživa u njemu (naravno koliko mu to primarni posao dopusti). Svaki članak piše na sebi svojstven način te ima poseban pristup informacijama i donošenju istih.